近日,由中国水产科学研究院黄海水产研究所薛素燕等研究发明的“筏式立体养殖装置以及该筏式立体养殖装置的养殖方法”获国家发明专利授权,专利号:ZL 2021102294739。
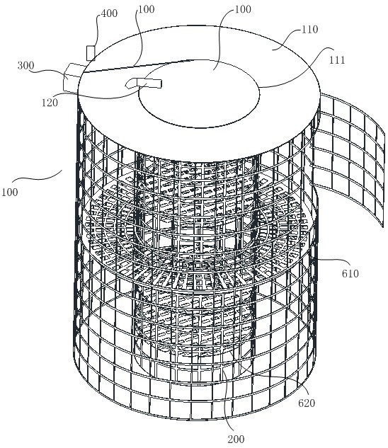
本发明公开一种筏式立体养殖装置及养殖方法,包括有:第一养殖网箱;第二养殖网箱,其可拆的设置在第一养殖网箱内,在第二养殖网箱内形成有第一养殖空间,在第二养殖网箱上设置有摄像元件和水温检测元件,在第二养殖网箱和第一养殖网箱之间有第二养殖空间;第一承载部件,环绕第二养殖网箱设置;第二承载部件,设置在第二养殖网箱内,设置有多个,沿第二养殖网箱的高度方向设置,相邻的2个第一承载部件之间具有间距;主控器,与摄像元件、水温检测元件通讯连接。
通过本发明有望解决现有浅海贝类养殖时存在的附着污损生物,影响网箱网笼内、外的水体交换、妨碍养殖生物的生长,降低水产品的品质以及影响海水养殖业的生产效率和产量、产值等问题。
